Ամերիկյան սուզանավը ստորջրյա դիրքից ԱԹՍ է արձակել
Ամերիկյան NBC հեռուստաալիքի փոխանցմամբ՝ ԱՄՆ-ի ռազմածովային ուժերը հաջողությամբ փորձարկել են ամբողջովին ջրի տակ գտնվող սուզանավից անօդաչու թռչող սարքի (ԱԹՍ) արձակումը: Դրանով իսկ ամերիկացի զինվորականներն ավարտին են հասցրել ԱԹՍ-երի հնարավորությունների ընդլայնման վեցամյա ծրագիրը:
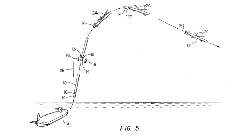
ԱԹՍ-ի նոր համակարգը մշակել է Ծովային հետազոտությունների լաբորատորիան (NRL)` ԱՄՆ պաշտպանության նախարարության ֆինանսական աջակցությամբ ու SwampWorks նորարարական ծրագրով: Օգտագործվել է Sea Robin համակարգը, որն ի սկզբանե կիրառվել է սուզանավերից Tomahawk հրթիռների արձակման համար:
ԱԹՍ-ի համակարգն անվանվել է eXperimental Fuel Cell Unmanned Aerial System (XFC UAS): Զինվորականները հրամանատարական կետից հետևել են ԱԹՍ-ի արձակմանը և նրա հետագա 7 ժամանոց թռիչքին, ինչը հնարավոր է եղել ԱԹՍ-ի վրա տեղադրված տեսախցիկների օգնությամբ:




